¸÷È˶¼ÔÚËÑ£ºÔËËÍ»úеװ±¸¹öͲÔËËÍ»úÍйõÔËËÍ×°±¸
¸÷È˶¼ÔÚËÑ£ºÔËËÍ»úеװ±¸¹öͲÔËËÍ»úÍйõÔËËÍ×°±¸
Ò»¡¢¸ÅÊö£º
µç¶¯¹öͲ×÷ΪƤ´øÔËËÍ»úºÍÌáÉýµÈ×°±¸µÄ¶¯Á¦¡£¡£¡£ÆÕ±éÓÃÓÚ¿óɽ¡¢Ò±½ð¡¢»¯¹¤¡¢ÃºÌ¿¡¢½¨²Ä¡¢µçÁ¦¡¢Á¸Ê³¼°½»Í¨ÔËÊäµÈ²¿·Ö¡£¡£¡£Ò«²ÊÍøÔËËÍÉú²úµÄµç¶¯¹öͲÖ÷ÒªÓж¨Öá³ÝÂÖ¡¢ÐÐÐdzÝÂÖ¡¢°ÚÏßÕëÂÖÈýÖÖ´«¶¯ÐÎʽ£¬£¬£¬×°ÖÃÐÎʽµç»úÄÚÖá¢ÍâÖúÍÒÆ¶¯Ê½£¬£¬£¬µç»úÄÚÖÃʱÓÐÓÍÀäºÍÓͽþÁ½ÖÖÐÎʽ£¬£¬£¬ÓÉÓڵ綯¹öͲÓëÒ»Ñùƽ³£µÄ¼õËÙ»ú¹¹Ïà±È£¬£¬£¬¾ßÓнṹ½ô´Õ¡¢ÖØÁ¿Çá¡¢ÃÜ·âÐԺá¢×°ÖÃÀû±ãµÈÓŵ㣬£¬£¬ÉîµÃ¿Í»§µÄ½Ó´ý¡£¡£¡£
¶þ¡¢ÐÎ״ͼ£º
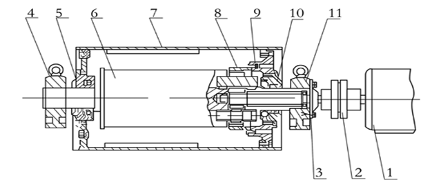
1¡¢µç»ú£¬£¬£¬2¡¢ÁªÖáÆ÷£¬£¬£¬3¡¢Õ±È¦£¬£¬£¬4¡¢Ö§×ùÌ壬£¬£¬5×ó¶Ë¸Ç£¬£¬£¬6¡¢ÊäÈëÖᣬ£¬£¬7¡¢¹öͲÌ壬£¬£¬8¡¢µÍËÙ¼¶ÐÐÐÇÂÖ£¬£¬£¬9¡¢³ÝȦ£¬£¬£¬10¡¢¸ßËÙ¼¶ÐÐÐÇÂÖ£¬£¬£¬11¡¢Ö§×ùÌå
Èý¡¢ ¹öͲµÄÍâò¸²Ã棺
ÍâòÓÐÂã¶¹â¸ÖÃæ£¬£¬£¬Æ½»¬Ï𽺡¢ÈË×ÖÐÎÏ𽺺ÍÁâÐλ¨ÎÆÏ𽺸²ÃæËÄÖÖ¡£¡£¡£
ËÄ¡¢ÎÒ³§Éú²úµÄµç¶¯¹öͲÖ÷ÒªÊÇ£º
TDY75ÐÍÓÍÀäʽµç¶¯¹öͲ£»£»DY1¡¢JYDÐÍÒÆ¶¯µç¶¯¹öͲ£»£»YZÐͰÚÏßÕëÂֵ綯¹öͲ£»£»YTWÐÍÍâװʽ¼õËÙ¹öͲÒÔ¼°ÖÖÖַDZêµç¶¯¹öͲ¡£¡£¡£

£¨1£©TDY75ÐÍÓÍÀäʽµç¶¯¹öͲ½ÓÄÉÀο¿Ê½½º´ø»úµÄÄÚÇý¶¯×°Ö㬣¬£¬ÆäÄÚ²¿½ÓÄɶ¨Öá³ÝÂÖ¶þ¼¶´«¶¯£¬£¬£¬ÊôÓÚÀϲúÆ·£¬£¬£¬µ«ÓÃ;ÆÕ±é£¬£¬£¬Óë¼õËÙ»úÏà½ÏÁ¿£¬£¬£¬¾ßÓÐÕ¼µØÐ¡¡¢ÖØÁ¿Çá¡¢Íâ¹ÛÕûÆë¡¢Ð§Âʸߣ¬£¬£¬ÆÕ±éʹÓÃÔÚ·Û³¾¡¢ÊªÈóÄàÅ¢µÄ±°ÁÓÇéÐÎÖС£¡£¡£
£¨2£©YZÐͰÚÏßÕëÂֵ綯¹öͲÄÚ²¿½ÓÄɰÚÏßÕëÂÖ´«¶¯£¬£¬£¬ÊÇÓÉÒ»¼¶Ó²³ÝÃæµÄÕë³Ý¿ÇÊä³öµÄ°ÚÏßÕëÂÖ¼õËÙ»ú¹¹£¬£¬£¬°ÚÏßÂÖ¡¢Õë³ÝµÈ½ÓÄÉÖá³Ð¸ÖÖÆÔ죬£¬£¬Ó²¶ÈµÖ´ïHRC58-62£¬£¬£¬¾ßÓгÐÔØÄÜÁ¦´ó¡¢¹ýÔØÄÜÁ¦Ç¿¡¢´«¶¯Æ½ÎÈ¡¢ÔëÒôµÍ¡¢ÊÙÃü³¤µÈÓŵ㡣¡£¡£
£¨3£©Íâװʽµç¶¯¹öͲÊǽ«Í¨Ë׵綯¹öͲÖеĵçÄîÍ·ÒÆ³öÀ´Íâ½Ó£¬£¬£¬Í²ÌåÄÚÈÔÓмõËÙ»ú¹¹£¬£¬£¬ËüÊǽéÓڹŰåµç»ú-¼õËÙ»ú-´«¶¯¹öͲµÄ¿ªÊ½´«¶¯ÓëͨË׵綯¹öͲÇý¶¯Ö®¼äµÄÒ»ÖÖÔËËÍ»úÇý¶¯×°Öᣡ£¡£
Ê×ÏÈ£¬£¬£¬Ëü¾ßÓÐÓÅÒìµÄÉ¢ÈÈÐÔ£¬£¬£¬²¢ÇÒÈÝÒ×¶Ôµç»ú¾ÙÐÐάÐÞ»òÌæ»»¡£¡£¡£
Æä´Î£¬£¬£¬ÔÚÕ¼ÓпռäλÖúÍÖÆÔìÖÊÁÏ·½Ã棬£¬£¬¾ù±È¿ªÊ½´«¶¯ïÔÌÈý·ÖÖ®Ò»×óÓÒ£¬£¬£¬µ«ÓÖ±ÈͨË׵綯¹öͲÔöÌíÈý·ÖÖ®Ò»×óÓÒ¡£¡£¡£Íâװʽµç¶¯¹öͲ£¬£¬£¬ÓÉÓÚµç»úÉ¢ÈȵÄÓŵ㣬£¬£¬ÔÚijЩ´ó¹¦Âʳ¡ºÏÕվɽÏÁ¿ºÏÊʵÄÇý¶¯¡£¡£¡£
Îå¡¢µç¶¯¹öͲ¹¦ÂʵÄÅÌË㣺
¹ØÓÚÔËËÍ»úеËùÐèÒªµÄÇý¶¯¹¦ÂʵÄÅÌË㹫ʽ£¬£¬£¬ÔÚÐí¶àÉè¼ÆÊÖ²áÖж¼ÓÐÕâÑùµÄÏêϸÏÈÈÝ£¬£¬£¬Çý¶¯¹¦ÂÊͨ³£µÄÓÉÈý²¿·Ö×é³É£¬£¬£¬¼´£ºÔËËÍ»ú¿ÕÔËתʱËùÐèÒªµÄ¹¦ÂÊ£¬£¬£¬ÔËËÍ»úˮƽÔËË͸ººÉʱËùÐèÒªµÄ¹¦ÂʺÍÔËËÍ»úÌáÉý¸ººÉʱËùÐèÒªµÄ¹¦ÂÊ¡£¡£¡£
ΪÁËʹµç¶¯¹öͲµÄÉè¼ÆÅÌËãÓëÓû§µÄʹÓÃÒªÇóͳһÆðÀ´£¬£¬£¬Ò«²ÊÍøÔËËÍÍÆ¼ö½ÓÄÉÏÂÁй«Ê½ÅÌË㣺
P= C x F x L(3.6Gm x Qt) + Qt x H
3 6 7 3 6 7
ʽÖУº
P---µç¶¯¹öͲµÄÖṦÂÊ
c---ÔËËÍ´ø¡¢Öá³ÐµÈ´¦µÄ×èÁ¦ÏµÊý£¬£¬£¬ÊýÖµ¿É´Ó±íÖв鵽
f---ÍйõµÄ×èÁ¦ÏµÊý£¬£¬£¬f=0.025~0.030
L---ÔËËÍ»úµÄµç¶¯¹öͲÓë¸ÄÏò¹öͲ֮¼äÖÐÐľàµÄˮƽͶӰ£¨m)
Gm---ÔËËÍ´ø¡¢Íйõ¡¢¸ÃÏò¹öͲµÈÐýתÁã¼þµÄÖØÁ¿£¬£¬£¬ÊýÖµ¿É´Ó±í4Öв鵽£¨kg/m)
V---´øËÙ£¨M/S)
Qt---ÔËËÍÁ¿£¨T/h)
H---ÔËË͸߶ȣ¨m)
B---´ø¿í£¨mm)
µç¶¯¹öͲµÄ°´Å¥¿É°´ÏÂÁй«Ê½ÅÌË㣺ʽÖУºM------Ť¾Ø£¨Nm£© D---¹öͲֱ¾¶£¨m) P---¹¦ÂÊ£¨KW) V---´øËÙ£¨m/sec)
M = 500 x D x P
V
ÒÔÉÏÊý¾Ý½ö¹©²Î¿¼£¬£¬£¬ÈôÓÐÐèÇóÇëÖµ籾¹«Ë¾
Áù¡¢µç¶¯¹öͲѡÐÍ×¢ÖØÊÂÏ
ƾ֤ÉÏÊö¹«Ê½ÅÌËã³öµÄµç¶¯¹öͲ¹¦ÂÊÔÚÏÂÁÐÇéÐÎÏÂÐèÒª¾ÙÐÐÐÞÕý£º
£¨1£©µç¶¯¹öͲÌìÌìÁ¬Ð´ÊÂÇéÁè¼Ý8Сʱ£¬£¬£¬µã»÷¹¦ÂÊÐèÌá¸ßÒ»µµ£»£»
£¨2£©Í²Ìå°ü½ºµÄµç¶¯¹öͲ£¬£¬£¬µã»÷¹¦ÂÊÓ¦Ìá¸ßÒ»µµ£»£»
£¨3£©Æô¶¯ÆµÈԵĵ綯¹öͲ£¬£¬£¬µã»÷¹¦ÂÊÓ¦Ìá¸ßÒ»µµ¡£¡£¡£
Æß£ºµç¶¯¹öͲʹÓÃ×¢ÖØÊÂÏ
(1)ʹÓÃǰӦ¼ì²é¹öͲÄÚ²¿ÓÍÁ¿£¬£¬£¬ÓÍÁ¿ÒÔ¹öͲֱ¾¶µÄ2/5ΪÒË£»£»¼ì²éµç»ú½ÓÏßÊÇ·ñ׼ȷ£¨×¢£º¹öͲ³ö³§Ê±ÎªÎÞÓÍ״̬£©¡£¡£¡£
£¨2£©¹öͲÐë¿ÕÔØÆô¶¯¡£¡£¡£
£¨3£©¹öͲÊÂÇé300СʱºóÌæ»»Èó»¬ÓÍ£¨Èó»¬ÓÍÅÆºÅ£ºÓÍÀäʽ¼ÓN46ºÅ£¬£¬£¬Óͽþʽ¼ÓN32ºÅÆûÂÖ»úÓÍ£©ÒÔºóÿ¸ô5000Сʱ»»ÓÍÒ»´Î²¢¾ÙÐб£ÑøÎ¬ÐÞ¡£¡£¡£
£¨4£©°´ÆÚ¼ì²éÓÍ룬£¬£¬Æ¾Ö¤ÃÜ·âÇéÐε÷½âÓͷⵯ»É»òÌæ»»ÓÍ·â¡£¡£¡£
£¨5£©µç¶¯¹öͲµçÆ÷Ïß·ÖÐӦװÖÃÏàÅäÌ׵ĹýÔØ£¬£¬£¬È±ÏàÔËÐеȱ£»£»¤×°Ö㬣¬£¬×èÖ¹Òòµç·¹ÊÕÏÉÕ»µµã»÷£¬£¬£¬Ôì³ÉËðʧ¡£¡£¡£
£¨6£©µç¶¯¹öͲӦµ±Ë®Æ½×°Ö㬣¬£¬Çã½Ç²»Áè¼Ý5°¡£¡£¡£
£¨7£©µç¶¯¹öͲÊÂÇéµÄÇéÐÎζÈӦλ-10°ÖÁ40¡æ£¬£¬£¬ÎïÁÏζÈСÓÚ60¡æ£¬£¬£¬º£°Î¸ß¶È²»ÒªÁè¼Ý1000Ã×£¬£¬£¬ÈôÊÇÊÂÇéÇéÐÎÁè¼ÝÉÏÊö¹æÄ££¬£¬£¬ÇëÓëÉú²ú³§ÁªÏµ½â¾ö¡£¡£¡£
Ò«²ÊÍøÓÐרҵµÄÉè¼ÆÍŶӡ¢ºÏÀíµÄÉú²úÁ÷³Ì¡¢ÍêÉÆµÄ¼ì²âÀú³Ì¡¢ÓÅÒìµÄÊÛºóЧÀÍ£¬£¬£¬ÒÔ´Ë´òÔì³ö½ËÕÒ«²ÊÍøÆ·ÖÊ¡£¡£¡£¹«Ë¾ÏÖÔÚÒѹ᳹ISO9001:2008ÖÊÁ¿ÏµÍ³ÈÏÖ¤£¬£¬£¬²¢ÑÏ¿áÆ¾Ö¤ÆäÒªÇó¾ÙÐй淶ÖÎÀí£¬£¬£¬È·±£Ã¿Ö»²úÆ·¼°¸ñ³ö³§¡£¡£¡£²úÆ·ÏÖÔÚÒÑÔ¶ÏúÎ÷°àÑÀ£¬£¬£¬µÂ¹ú£¬£¬£¬ÖÇÀû£¬£¬£¬Öж«µÈ¹ú£¬£¬£¬ÆäÖÊÁ¿ÉîÊÜÖ÷¹ËºÃÆÀ¡£¡£¡£×ÉѯQQ:1210189900.»¹¿ÉÒÔ¹Ø×¢ÎÒÃÇ
΢ÐŹ«Öںţºsjssjx
Ò«²ÊÍø¹Ù·½ÍøÕ¾£º http://www.sjssjx.com
Ò«²ÊÍø°¢Àï°Í°Í¹Ù·½ÍøÕ¾£º http://jssjssjx.1688.com
0510-86179580
0510-68823303
´«Õ棺0510-86100282
QQ£º2512108855
ÓÊÏ䣺2512108855@qq.com
µØµã£º½ËÕÊ¡½ÒõÊÐÄÏÕ¢Õò½õÄϹ¤ÒµÔ°Çø¿ªÌ©Â·7ºÅ